Σε πέντε χρόνια αναμένεται η έγκριση από τον Αμερικανικό FDA
Πολλές είναι οι προσπάθειες που μέχρι στιγμής έχουν γίνει για την καταπολέμηση της επάρατης νόσου, παρόλα οι διαστάσεις που παίρνει όσο περνούν τα χρόνια παραμένουν τρομακτικές. Τα νέα που κυκλοφορούν κατά διαστήματα ίσως δεν προκαλούν πλέον το ενδιαφέρον, τι γίνεται όμως στην περίπτωση που ένας τεχνολογικός κολοσσός, όπως η Google, αποφασίσει να δώσει τη δική του μάχη ενάντια στον καρκίνο;
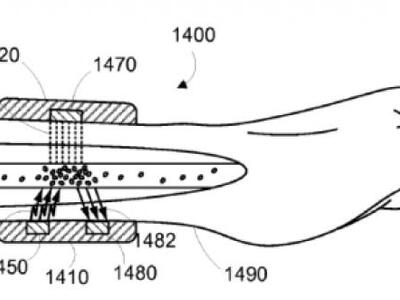
Ο γίγαντας της τεχνολογίας,πρόσφατα κατοχύρωσε μία νέα πατέντα, ένα βραχιόλι παρόμοιο με αυτά που καταγράφουν την κίνησή μας και τα ζωτικά στοιχεία μας, το οποίο έχει ως στόχο να κάνει πολλά περισσότερα. Για την ακρίβεια, να προλάβει την επέκταση ή ακόμα και να καταπολεμήσει τα καρκινικά κύτταρα.
Όσον αφορά τον τρόπο λειτουργίας της πατέντας, αναφέρεται πως το βραχιόλι μπορεί να εντοπίζει τα καρκινικά κύτταρα και σε συνδυασμό με ένα ειδικό χάπι που περιέχει νανοσωματίδια, εξίσου δημιουργία της Google, δημιουργεί ένα μαγνητικό πεδίο το οποίο προσελκύει τα «κακά» κύτταρα.
Στη συνέχεια, σε θεωρητική μέχρι στιγμής βάση, τα νανοσωματίδια της Google θα επιλέγουν τα κύτταρα-«στόχο» και είτε θα τα μετατρέπουν σε ακίνδυνα, είτε θα τα καταστρέφουν.
Σε πρώτη φάση βέβαια διευκρινίζεται πως το βραχιόλι θα χρησιμοποιηθεί απλώς για τον εντοπισμό των κυττάρων. Η φάση αυτή αναμένεται να πάρει την σχετική έγκριση από τον Αμερικανικό FDA μέσα στην προσεχή πενταετία.
Αν το σχέδιο της εταιρείας τεχνολογίας βέβαια προχωρήσει με γοργούς ρυθμούς, δεν είναι απίθανο αν περάσουμε σύντομα και στη δεύτερη φάση, δηλαδή στην καταστροφή τους, σύμφωνα με τους ειδικούς. Μάλιστα δεν είναι εκείνοι που προχωρούν την πατέντα ακόμα παραπέρα κάνοντας λόγο και για εντοπισμό των κυττάρων που είναι υπεύθυνα για τη νόσο του Πάρκινσον και του Aids.
πηγή:techit.gr

Ακολουθήστε το thebest.gr στο Google News και μάθετε πρώτοι όλες τις ειδήσεις
Δείτε όλες τις τελευταίες Ειδήσεις από την Ελλάδα και τον Κόσμο, τη στιγμή που συμβαίνουν, στο thebest.gr










